Sometimes issues of patent law turn on a proper understanding of complex technology, as we have discussed in the past. Other times, the issues turn on what might be called simple-minded terms that most kinder gardeners understand. One area that arises again and again is the frame of reference for claim terms like “above”, “below”, “upper”, or “lower”. A recent PTAB case for a breast pump application by Phillips illustrates how these claim terms that seem to be a strongly differentiating at first glance can actually turn out to be no tougher than a toothless tiger.
The case (Appeal 2020-001472, Application 14/429,115) has the following claim 1 on appeal (emphasis in the PTAB decision highlighting the claim terms argued on appeal).
1. A breast pump comprising:
a chamber defined by an upper wall, a side wall and a base, the chamber having a vacuum port formed in the upper wall of the chamber,
a membrane receivable in the chamber to separate the chamber into first and second spaces, the membrane being deformable in the chamber in response to a reduction of pressure in the first space to generate a reduction of pressure in the second space, and a limiter in the first space of the chamber to limit deformation of the membrane, wherein the membrane is free to deform in the chamber between a neutral condition, in which the membrane is spaced from the limiter, and an operating condition when a predetermined reduction of pressure is imparted on the membrane in the first space of the chamber, and in that the limiter is configured such that the membrane locates against the limiter to limit deformation of the membrane in the chamber when a reduction of pressure in the second space is equal to or exceeds a threshold value in order to restrict the pressure reduction in the second space,
characterized in that one of:
the limiter includes at least one protrusion extending from the upper wall of the chamber relative to the vacuum port within the first space of the chamber to define at least one air channel between the upper wall and the membrane when the membrane locates against the limiter, or
the limiter includes at least one recess formed within the upper wall of the chamber relative to the vacuum port within the first space of the chamber to define at least one air channel between the upper wall and the membrane when the membrane locates against the limiter.
As an initial matter, the PTAB was not impressed with Phillips’ brief, noting that
Appellant presents a very minimal argument concerning the recited “upper wall,” which limits our analysis. See Ex Parte Frye, 94 USPQ2d 1072, 1075-76 (BPAI 2010); 37 C.F.R. § 41.37(c)(1)(iv)(“any arguments or authorities not included in the appeal brief will be refused consideration by the Board for purposes of the present appeal”). Appellant does not identify any portions of the Specification that define the term “upper wall” in a way
that supports Appellant’s argument. In particular, Appellant’s discussion of claim interpretation does not refer to the Specification, but instead refers only to Appellant’s Figures 2 and 8. See Appeal Br. 11.
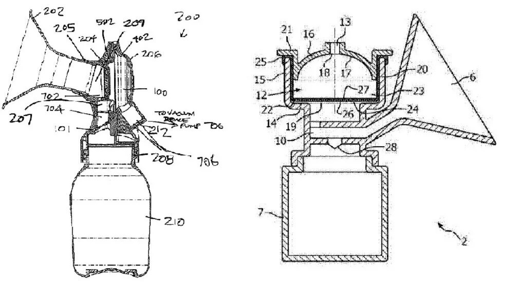
The case came down to the meaning of “upper wall.” The prior art (on the left below) allegedly had an upper wall at 206, whereas Phillips’ application showed upper wall 16 on the right.

Phillips’ arguments relied on an interpretation of “upper wall” meaning upper with respect to the wall’s position when the breast pump is standing upright.” From that, Phillips argued that the prior art only showed a “rear housing part” 206 and thus was deficient.
Unfortunately, Phillips’ arguments came up short. Phillips had no such frame of reference in the claim, nor did they cite to one in the specification. As such, it was easy for the PTAB to find for the examiner.
Examiner’s often take the position that terms like “upper” need to be defined in the claims to carry weight. And while this may indeed be sufficient to ensure the claim is interpreted as intended, a clear frame of reference definition in the specification is another possible approach.
However, even when the claim explicitly recites a frame a reference, some examiners still tend to ignore the claim terms and try various shenanigans including re-drawing the prior art references upside down. In those cases, the results on appeal will likely be very different from the above case.
So, be careful in using terms that seem clear at first glance, and think hard about whether a proper frame of reference has been established to prevent an examiner from ignoring limitations you want them to be forced to consider.

Leave a comment