Certain art units at the USPTO stand out for their high rate of reversal on appeal, as well as other outlier actions related to restrictions, re-opening prosecution after an appeal brief, etc. Art Unit 3747 is one of those art units as we have discussed in numerous previous posts (see here, here, here, here, and here for just a few). Today we review another reversal in serial number 14/742,901.
The invention relates to a solenoid design:

Figure 2 shows the invention, and illustrates the stop member and clearance zone.

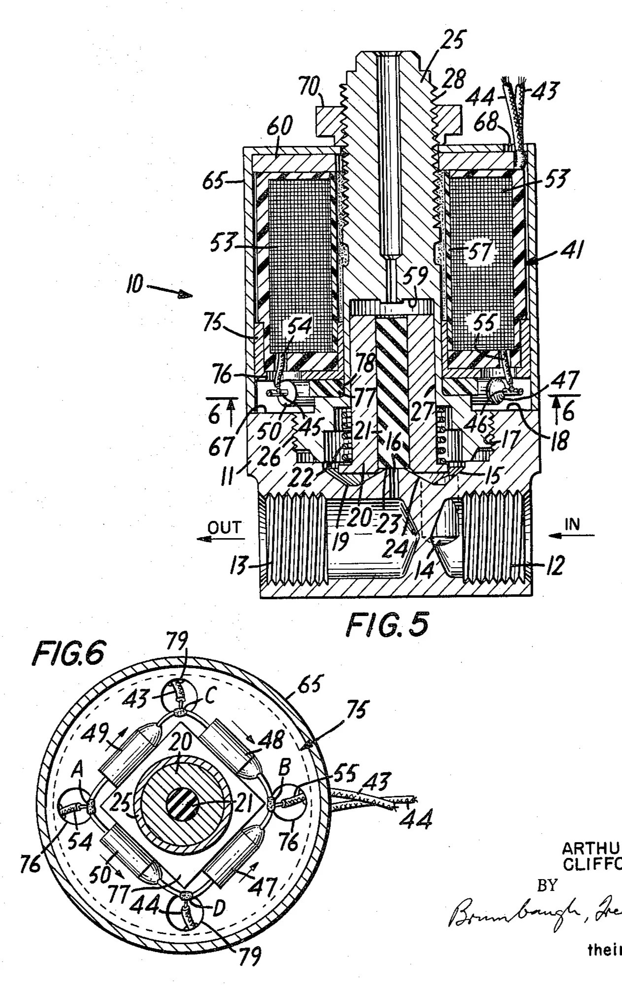
The prior art relied upon by the Office, Foley, is shown below. It shows a solenoid but does not have the claimed stop, etc. The Office relied on a combining elements 25, 59, 75, and 77 into a single element to form a stop member as claimed.

Specifically, in finally rejecting the claims, the Office argued that together these elements formed the claimed stop member with the clearance zone defining a grounded electrical attachment surface. The applicant pointed out numerous problems with the rejection, including that the combining of the various components was impractical, and that even if possible, there still was no clearance zone defining a grounded electrical attachment surface in the claimed location.
In fact, the examiner and supervisor repeatedly changed the rejection throughout the limited prosecution of this case, switching which combination of elements qualified as the stop member and where the clearance zone was located. The two supervisors moving forward with the appeal as conferees on the Answer typically maintain improper final rejections and so it is not surprising the applicant was forced to appeal a clearly improper rejection.
The Board made short order of the rejection, reversing as follows:

There are numerous lessons to learn in this appeal. An examiner must actually address all claimed structural limitations. Hand-waving by combining various components that still do not meet the limitations is insufficient. Further, appealing improper rejections early helps avoid wasted money and time spent on RCEs when the examiner and supervisors are unlikely to be persuaded by even the most reasonable of arguments. Here, the applicant was smart in appealing without wasting money on an RCE. Finally, be on the lookout for examiners switching which elements are being relied upon to show the claimed structure. This is especially common when examiners are stretching the prior art beyond reasonable limits.

Leave a comment