It’s interesting (in a sad way) when you look at a case and see an examiner give a textbook example of something discussed on a previous post. Here we take a look at a classic example of “obvious to try” rationale that, at least in my view, is improper.
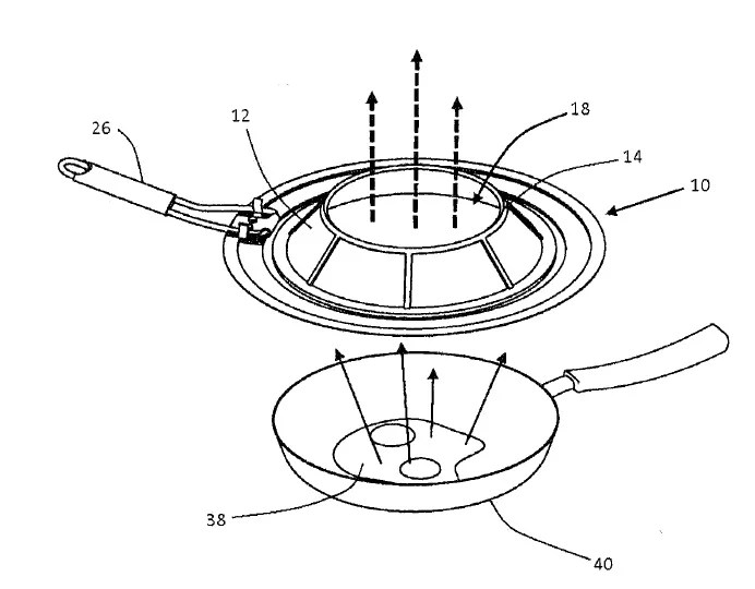
The invention is quite interesting – a splatter guard for frying food that enables the cook to stir as well as add or remove food items, without removing the splatter guard. I love frying eggs and am considering ordering one of these products from Bed Bath and Beyond here.


As discussed in previous posts (here) and (here), the obvious to try rationale is very attractive for creating invalidity arguments because whatever feature is missing from the art can simply be labeled “obvious to try.” Following the Supreme Court’s KSR decision, all that is needed is to establish a limited number of options. The limited number of options can be created by breaking down the universe into the inventive way (the claimed way) and the non-claimed way (opposite of what is claimed or not doing what is claimed or the way the prior art operates). If the missing claimed element is a certain attachment of a mechanism at a certain location, the “limited” options are at the certain location or somewhere else (as shown in the prior art). So it is easy (obvious) to pick either one. QED.
Returning to our example case above, it is pending on appeal before the PTAB (SN 15/358,641) as of the writing of this post. The examiner’s stats are at the bottom of the barrel in terms of allowance rate, so it is not surprising that the case is on appeal. The claims are for a method, which is interesting in and of itself from a strategic point of view as it definately makes it harder for the examiner since much of the innovation here is related not only to the structure of the splatter guard, but how that structure is actually used during cooking.
The rejection combined multiple references, but still did not have any disclosure of the claimed element of “placing one or more food items to be cooked into the vessel by inserting them without removing the shield”. Clearly this is a key aspect of the invention – the ability to add/remove food items without removing the splatter guard. From my experience, this is precisely where prior art splatter guards utterly fail and grease gets everywhere. But for this examiner, this missing features was obvious to try (where the prior art reference had a hole in the pan):

This, therefore, is a classic example illustrating a common examiner tactic with “obvious to try.” Applicant’s appeal and reply brief provided a nice rebuttal to this reasoning (making the exact point we made above and in previous posts) and noting that the Office did not even list the conventional option of removing the splatter guard:

So, when an examiner tries to rely on “obvious to try” reasoning, make sure that the universe of solutions being applied does not rely on improper hindsight. Only when there is a finite number of identified, predictable solutions, with a reasonable expectation of success, is it appropriate to consider this type of reasoning. Further, consider whether some of the Federal Circuit’s guidance in Rolls-Royce, PLC v. United Tech. Corp. might be helpful (whether the claim feature at issue would have presented itself as an option at all, let alone an option that would have been obvious to try).

Leave a comment