When an applicant appeals a rejection of a USPTO examiner and files an appeal brief, an appeal conference is held at the USPTO. The appeal conference includes the examiner and two other participants, as explained in the MPEP.
MPEP 1207.01 Appeal Conference
An appeal conference is mandatory in all cases in which an acceptable brief (MPEP § 1205) has been filed. … The participants of the appeal conference should include (1) the examiner charged with preparation of the examiner’s answer, (2) a supervisory patent examiner (SPE), and (3) another examiner, known as a conferee, having sufficient experience to be of assistance in the consideration of the merits of the issues on appeal. During the appeal conference, consideration should be given to the possibility of dropping cumulative art rejections and eliminating technical rejections of doubtful value.
Often the two other participants are the examiner’s supervisor, and another supervisor in a related art unit. Other times, one of the two participants is a quality assurance specialist, such as a RQAS. The RQAS (Review Quality Assurance Specialist) works in the Office of Patent Quality Assurance and they have various functions outside of appeals, including reviewing examiner work products that form the basis for the compliance rate reviews, Complete First Action on the Merits (FAOM) Reviews and FAOM Search Reviews. According to the USPTO:
RQAS are experienced Primary Patent Examiners and former Supervisory Patent Examiners, whose examining experience is in the general area of the Technology Center whose applications they are assigned to review. RQAS are responsible for performing timely, substantively and procedurally sound reviews. RQAS are required to be thoroughly familiar with all patent examination tools, and to keep abreast of the latest patent rules and regulations. RQAS must record their error findings and provide supporting documentation so that the TC can assess the validity of any proposed error finding. Each team of RQAS is supervised by a Supervisory Quality Assurance Specialisst (SQAS). SQAS are experienced former Supervisory Patent Examiners who ensure that reviews performed by the RQAS are substantively and procedurally accurate. Review findings are used to identify quality issues and OPQA resources and data are used to support quality improvement programs within the Patent Corps.
So, one might think that if you receive an examiner’s answer and see that one of the conferees was RQAS, it might mean that there is little chance of success at the PTAB. After all, the RQAS are the ones reviewing examiners’ day-to-day work and scoring it to show the USPTO’s very high quality performance.
However, in reality, even RQAS examiners misunderstand basic rules such as Design Choice – one of the most important topics in examination due to the ease in which it can be used to reject almost any invention. As readers of this blog know, we have discussed design choice issues extensively in past posts.
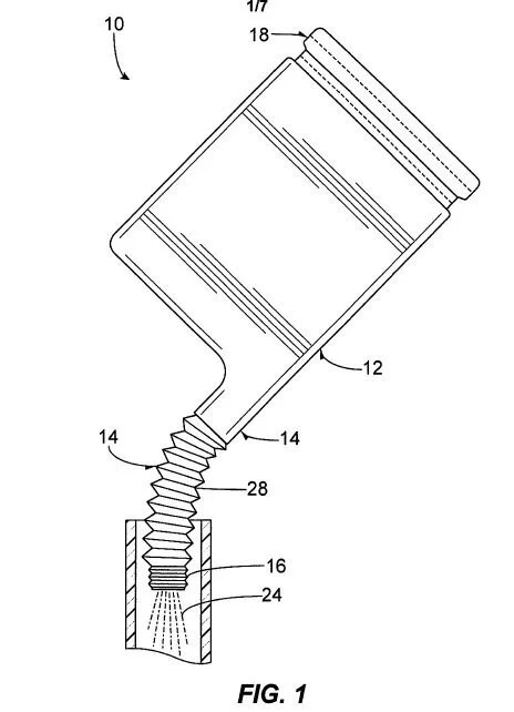
Today’s examiner is SN 15/610,932 covering a device for acting as both a container and a funnel. The invention is quite intriguing as it provides for a way to convert a container to a funnel while also enabling the bottom portion of the base to be an effective cap after the device is used as a funnel. Below is FIG. 1 from the application.

The examiner rejected the claimed feature that the cross-sectional thickness of said sidewall portion of said bottom portion of said base is substantially identical in measure to said distance by which said circumference of said indented portion of said base is recessed from said circumference of said body as being an obvious matter of design choice. According to the examiner,

Now – this seems perfectly reasonable. Every mechanical engineer knows that increasing the wall thickness makes the wall stronger and increases strength. Further, increasing the base would obviously increase vertical stability. So it seems the RQAS did their job very well. The problem is that this type of rejection does not follow the law. When using design choice, it should not simply apply automatically any time there is a difference from the cited art. Rather, one must look to whether there is some new function or advantage. A proper rejection thus requires considerations beyond whether or not the examiner can think of some other advantage for the change in thickness.
Here, the specification disclosed specific advantages of the claimed changes in size/shape. Specifically, the specification provides that when a user cuts along the upper/lower guides of base 18, the bottom portion 48 and central portion 50 are separated from base 18. Such construction allows the bottom portion 48 to act as a cap for the device 10 after it has been used as a funnel, and the correspondence of size of the interior of the sidewall portion of the circumference of the indented portion allows the cap to fit snugly on device 10 after it is used as a funnel. In addition, this construction allows the bottom portion 48 to fit sleekly with the body for both aesthetic and storage reasons.
These reasons were pointed out by the applicant in the appeal (page 5), yet ignored by not only the examiner and their supervisor, but even by the RQAS knowing that the examiner was relying on design choice. One could make a strong argument that this was not even a close case, yet the very examiners charged with policing quality across the examiner ranks got it dead wrong.
No one is perfect and reasonable minds can differ, but this example raises more questions than it answers as to whether quality is being assured for a proper rejection in the same way it is being enforced against improper allowances.

Leave a comment