The Wildlife Research Center (https://www.wildlife.com/) (WRC) is all about giving you the right scent to attract wildlife. And their president, known for developing new products, along with several others, developed an improved liquid scent dispenser. The inventors were dealing with the need for a temperature regulated, pressure activated scent dispenser equipped to hold and dispense greater volumes of liquid scent than preexisting dispensers, yet that can also be calibrated to achieve a desired output of liquid scent. Their invention, shown in the figure below, was set forth in claim 1 as follows:
1. A temperature-regulated liquid scent dispenser comprising:
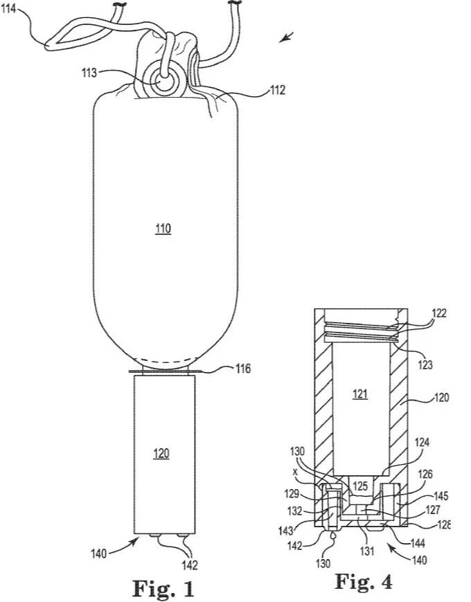
a container defining an interior container volume housing a liquid scent, and a container opening at a first end of the container;
an attachment component engaged, at a first attachment opening at a first end of the attachment component, with the container opening, the attachment component removable from the container and further defining a second attachment opening at a second end of the attachment component opposite the first end and an interior volume housing an amount of air, wherein the attachment component is configured to receive the liquid scent displaced from the container volume through the first attachment opening upon an expansion of pressure of air within the attachment component caused by an increase in temperature; and
a cap inserted within a recess defined by the second attachment opening, the cap defining an internal volume configured to receive the liquid scent from the interior volume of the attachment component, the cap defining at least one scent dispense tube, the scent dispense tube in fluid communication with the interior container volume and defining an internal entrance and a scent release orifice, the internal entrance configured to receive liquid scent that overflows from the interior volume defined by the cap, and the scent release orifice configured to dispense the liquid scent from the liquid scent dispenser.

Unfortunately for WRC, the examiner took issue with their invention, particularly the bolded language above. As explained in the patent application, that particular feature of the invention enabled the regulated dispensing of the scent in a way that improved scent delivery rate and timing.
First, the examiner asserted that the “configured to” language was not a limitation at all. It is common for examiners to consider such functional limitations in structural claims as something they can just ignore. However, while it may be true that the prior art merely must show a structure capable of performing the claimed function, as the PTAB confirmed, “it does not follow that such language fails to constitute an affirmative limitation.” This black letter law proposition may seem simple but many examiners ignore “configured to” language completely rather than following the proper rule that such language constitutes an affirmative recitation that describes an element functionally, as opposed to structurally. Here, the examiner took this view likely because the prior art cited in the rejection did not have such a function.
Second, the examiner also quested whether the device really worked as described. According to the examiner, such questioning made it proper to reinterpret the claim language “expansion of pressure of air within the attachment component” to mean “expansion of pressure of air within the container.” Again, the examiner was likely taking this view because it enabled an easier rejection. However, it is not proper to re-draft explicit claim language to mean something different from what it explicitly states. While an examiner may take some liberties in interpreting language that is open to different meanings based on statements in the specification, here the examiner was essentially redefining a claim term to mean something else that is contrary to its ordinary meaning. As explained by the Board, “the fact that the Examiner has a technical or factual basis to question whether Appellant’s invention actually operates in the manner claimed is not a proper justification to re-write Appellant’s claim.”
In the end, WRC was successful in challenging these improper examiner rejections at the PTAB and has now obtained a Notice of Allowance. The case is Appeal 2021-000990, Application 15/446,868.

Leave a comment