It can be hard to know where the line is on non-analogous art. Most patent practitioners can rattle off the elements of the test with relative ease – is the prior art from the same field of endeavor, and if not is it reasonably pertinent to the problem being solved by the inventors? The issue of the field often comes down to definitions – how broad or narrow is the field of the invention and how is the field of the prior art characterized. As to problem, again this can be somewhat nebulous in terms how the problem is defined for the inventors and in the prior art.
One possible way to think about these issues in a more practical sense is to think about the hints or breadcrumbs provided by the prior art and available to the skilled person. An example is a recent Phillips case. The invention relates to “to an interventional tool stepper employing components having an EM-compatible material composition for minimizing any distortion by the interventional tool stepper of an electromagnetic field” (Sn 14/914,748).
Claim 1 is reproduced below.
1. An interventional tool stepper, comprising:
a frame structurally configured to be positioned relative to an anatomical region for holding an interventional tool relative to the anatomical region;
a carriage coupled to the frame, the carriage being structurally configured to hold the interventional tool relative to the anatomical region, wherein the carriage comprises an electromagnetic-compatible material composition comprising a material that generates eddy currents in a presence of an electromagnetic field; and
wherein the frame and the carriage have the electromagnetic-compatible material composition for minimizing any distortion by the interventional tool stepper of an electromagnetic field at least partially encircling the interventional tool stepper; and
wherein the frame includes a plurality of substantially equally-sized or equally spaced slots, or both, in a surface thereof for minimizing any induction of eddy currents by the interventional tool stepper
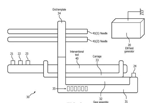
The specification, which is relatively short (detailed description of less than 4 pages), essentially only has one figure of the invention (reproduced below).

Phllips first argument relates to the claimed slots (element 35) in the frame. The Examiner cited elements in the prior art (Zhao) that are described as “slots”, although in Zhao the slots did not go all the way through the frame. Not only did the claim not require through-slots, but there was no such description in the Phillips application as filed clearly limiting the claimed embodiment. Nevertheless, the primary argument in Phillip’s appeal was that the prior art did not show slots because the prior art does not show slots that extend through the frame. The PTAB easily dismissed this argument.
Phillips next argued against Zhao by asserting that it was non-analogous art. Zhao relates to improving the quality of the plasma being used to perform etching of wafers and other semiconductor structure, and specifically to avoid overheating of an antenna. In that sense, Zhao is quite far afield from the invention. However, when considering the second step of the analogous art test – the problem to be solved – Zhao was more applicable. The primary reference (Bzostek) recognized the same eddy current problem as Phillips, albeit in the context of different side-effects of the eddy current. In the Phillips application, the issue was the effect of eddy currents on the accuracy of tracking the interventional tool stepper. Nevertheless, the idea of solving problems with eddy currents by merely reducing eddy currents might be viewed as a strong hint to the person skilled in the art to seek out any known solution to reducing eddy currents, including looking outside the field of tracking. Thus, even though Zhao aims to improve plasma quality for etching, it does so by reducing eddy currents with slots. The PTAB explains the issue as follows (emphasis added):
… the Examiner is correct that “Zhao is reasonably pertinent to the particular problem with which the application was concerned,” namely “the induction of eddy currents in a conductive material caused by a large surface of EM compatible material composition.” Ans. 18. In the rejection at hand, the Examiner is not simply looking to semiconductor technology to find a solution to an unknown problem with interventional tool steppers, which would likely be non-analogous art.
Here, Bzostek already recognizes the eddy current problem in the field of endeavor at issue and also the solution in that Bzostek discloses the use of cuts or breaks, i.e., slots, to disrupt such eddy currents. Bzostek merely lacks detail as to the claimed location and configuration of such slots. In this case, the Examiner is looking at a specific configuration for solving eddy currents in a large area not contemplated specifically by Bzostek, and as such, it is entirely within the realm of the problem to be solved to look at Zhao for such a configuration. Appellant attempts to limit the non analogous art to the field of endeavor without addressing the problem to be solved, which in this case, given the general teachings in Bzostek, is simply the proper configuration of such slots. When looked at properly within the context of the problem to be solved, given the knowledge already contained within the prior art of Bzostek, the Examiner’s use of Zhao is perfectly reasonable.
While this case did not come out well for Phillips, it does present some insights as to how PTAB members think about the analogous art test, and in particular the second prong of that test. Here, the inventors’ solution was to reduce eddy currents because those eddy currents were creating an issue in the tracking accuracy. Taking that, and considering that Bzostek was specifically aimed at reducing eddy currents using slots (albeit in a different field), it was reasonable to think that a person skilled in the art would consider using slots for the same purpose, but in a different application, accordindg to the PTAB.
So, when trying to evaluate the strength of non-analogous art arguments, consider taking a practical view as to what hints are really provided. Also, when drafting, take care not to admit that problems solved by the inventors were generally known – sometimes recognition of the problem is itself part of the invention.

Leave a comment