When arguing against a rejection, every patent professional knows you have to argue the actual claim language. This approach ensures that the argument focuses on what the claims actually require, and reduces the extent of prosecution history. However, sometimes this advice is taken to the extreme in that the patent professional does nothing more than, for example, arguing that the prior art is missing quoted claim language. This runs this risk of failing short of the applicant’s duty to point out why a rejection is incorrect. And on appeal, this can be fatal.
Every appeal brief must point out the supposed errors in the rejection. Merely “parroting” claim language and making a general assertion that a reference fails to show the claim language is not a full argument. Recent examples illustrate that even sophisticated applicants can get tripped up.
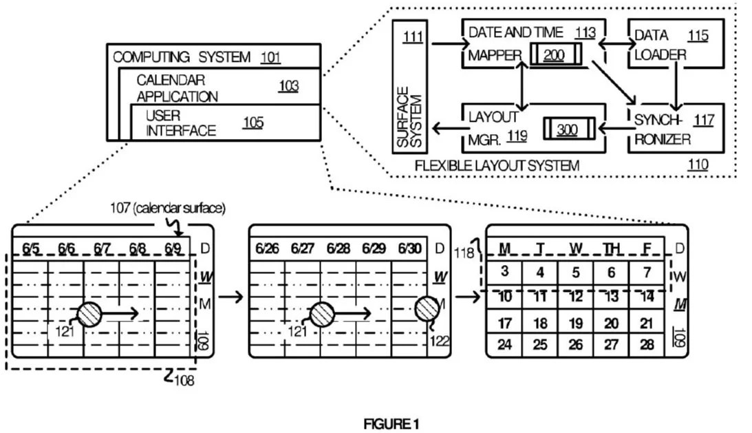
Appeal 2021-002495, Application 15/638,046, to Microsoft illustrates how the Board responds to briefs that fail to provide a detailed argument. The application relates to a method and system for animating a calendar in a user interface by bringing into or removing from a view port specified dates in the calendar as the user navigates the surface thereof. As illustrated by FIG. 1 below, upon receiving from calendar surface 107 a user’s request identifying a new time period, mapper 113 responds with layout information associated with a given control and produces a visual representation of the new time period to be displayed in calendar surface 107. Mapper 113 determines, from a user scrolling to a new position on calendar surface 107, a specific new date/time the user landed on to anchor the viewport, thereby replacing a previous anchor value. Having identified a new time period, mapper 113 then notifies data loader 115 and synchronizer 117 that the new time period is coming into view in the viewport. Layout manager 119 becomes aware of the new time period and queries mapper 113 for layout information related to the new time period. Mapper 113 receives the requests responds with the layout information for subsequent display in calendar surface 107.

Microsoft made several arguments about deficiencies of the cited art. The Board found each one lacking (internal case citations omitted):
Appellant’s arguments are not persuasive of reversible Examiner error. As an initial matter, we note Appellant’s arguments merely parrot the cited claim limitations, as well as the cited portions of Cook, without comparing or contrasting them. Appellant has thus failed to explain the purported difference therebetween. We remind Appellant that merely repeating the claim language and nakedly asserting the insufficiency of the teachings relied upon by the Examiner in the rejection are not tantamount to a responsive argument. … Our rules require that an Appeal Brief include “arguments” that “shall explain why the examiner erred.” 37 C.F.R. § 41.37(c)(1)(iv).
While it is important to keep arguments tightly tied to claim language, they cannot be so terse as to be mere “parroting” and naked allegations.

Leave a comment